Descrizione

Serrande di regolazione a ghigliottina in acciaio zincato adatte per l'utilizzo in impianti di aspirazione. 

Le serrande a ghigliottina SG sono la soluzione ideale per la regolazione e l'intercettazione di flussi con particelle solide, specie se filiformi. La chiusura della valvola tramite una lama, infatti, permette di interrompere completamente il flusso del fluido, garantendo una chiusura ermetica. Sono, inoltre, ridotte sensibilmente le perdite di carico non avendo componenti all'interno alla tubazione.

Caratteristiche

Da dimensioni: Ø80 ÷ Ø300;

  • Velocità massima dell’aria: 35 m/s;
  • Depressione massima di lavoro: 450 mmH2O;
  • Spessore Cassa 1,2 mm;
  • Spessore Diaframma 1,2 mm.

Da dimensioni: Ø350 ÷ Ø800;

  • Velocità massima dell’aria: 35 m/s;
  • Depressione massima di lavoro: 500 mmH2O;
  • Spessore Cassa 3 mm;
  • Spessore Diaframma 3 mm.

Temperature di lavoro: -20°C ÷ 80°C.

Modelli

  • SG - Serranda a ghigliottina manuale (dal Ø 350 versione pesante);
  • SGP - Serranda a ghigliottina pneumatica (dal Ø 350 versione pesante con carter).

A richiesta

  • Disponibili su ordinazione serrande INOX.
  • Serrande atex.

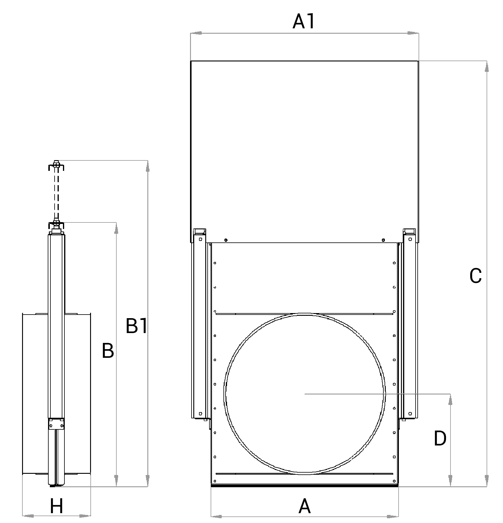
Dimensioni e Listino Prezzi

Tutte le dimensioni sono espresse in mm.

ØLHZSG
mmmmmmmmEuro
801201504022,31
1001451905024,55
1201652105026,78
1401802205029,01
1501902375030,12
1602052455034,59
1802202805039,05
2002403105041,28
2202603306552,44
2402803405560,25
2502903626569,17
2603003707575,87
2803203906579,22
3003454108087,03

Dimensioni e Listino Prezzi Serie Pesante

 

Tutte le dimensioni sono espresse in mm.

ØAA1BB1HCDkgSG
mmmmmmmmmmmmmmmm Euro
3504706007901130285116024030689,51
4005206507901180285125626535874,72
4505707008901330285140629040974,02
50062075089013802851456315481.051,00
55067081499015302851606340581.129,10
60072086499015802851656365691.203,86
650776914109017302851806390761.348,90
700826964109017802851856415801.438,16
7508761044119019302852006440861.493,94
8009261094119019802852056465911.832,00