Descrizione

Diffusori lineari a scomparsa per impianti vmc con una feritoia da 30 mm con profilo aerodinamico in alluminio e deflettori regolabili, per un ottimale controllo del lancio dell’aria.

Caratteristiche

Materiale: alluminio.
Finitura EDLSV: telaio e deflettori in alluminio verniciato nero RAL9005.
Finitura EDLSVB: telaio e deflettori in alluminio verniciato bianco RAL9016.

Feritoia: da 30 mm.

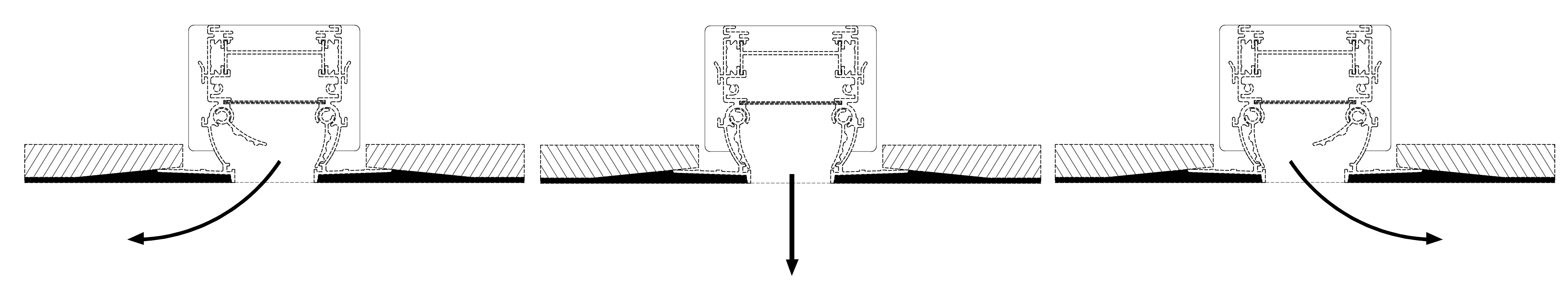
Installazione: mediante plenum con sistema di montaggio a ponti. Posizionamento nastro anticrepe su telaio e conseguente rasatura a gesso.

Dimensioni realizzabili:
- lunghezza 500 mm;
- lunghezza 800 mm.

Impiego

Diffusore adatto sia alla mandata che alla ripresa dell’aria in ambienti di grandi dimensioni.

Modelli

-EDLSV - EDLSVB diffusori lineari a scomparsa di mandata con deflettori e feritoia da 30 mm.

Accessori

- plenum isolato;
- ponti di fissaggio.


Dimensioni diffusore lineare a scomparsa

Tutte le dimensioni sono espresse in mm

LABCEDNumero Ponti di Fissaggio
50070655851902
8002

Dettagli dimensionali diffusore

Dati di funzionamento

Dati riferiti a diffusori con una velocità terminale Vt=0.25 m/s e con un differenziale di temperatura di 10/12 °C, montati a filo soffitto e con lancio laterale.

Valori riferiti a diffusore senza serranda o con serranda a scorrimento aperta.
Valori riferiti al diffusore con deflettori in posizione di lavoro con parzializzazione al 50% della superficie utile di passaggio aria.

La posizione dei deflettori riduce la sezione efficace. Con deflettori completamente aperti o nel caso che il diffusore sia utilizzato per la ripresa, le portate in m³/h riportate in tabella possono essere aumentate.

Vk: velocità efficace (m/s)
m³/h: portata aria
Pa: perdite di carico in Pascal
L(m): lancio in metri
dB(A): indice di rumorosità

Lunghezza EDLSVMC-EDLSVMCBSezione Efficace (m²)Portata Aria, Lancio e Perdita di Carico
500 mm0,0073m³/h5279105132158184
L(m)1,62,53,44,265,8
800 mm0,0116m3/h83125167208250292
L(m)1,62,53,44,255,8
Vkm/s234567
Perdite di CaricoPa81526405570
Indice di RumorositàdB(A)<202232374448

Caratteristiche lancio aria

Dimensioni plenum e sistema di montaggio con ponti di fissaggio

PLENUM EPLS 500 comprensivo di 2 manicotti tipo A Ø 63mm
PLENUM EPLS 800 comprensivo di 3 manicotti tipo A Ø 63mm

Serranda tipo C e manicotto tipo B Ø 75mm opzionali da acquistare separatamente.

Pre-tranciature presenti nei plenum

Listino prezzi EDLSV verniciato nero RAL9005 con feritoia 30 mm

Lunghezza EDLSVEDLSVPLENUM
ISOLATO EPLS
euroeuro
50053,48 84,86
80061,50 96,87

Listino prezzi EDLSVB verniciato bianco RAL9016 con feritoia 30 mm

Lunghezza EDLSVBEDLSVBPLENUM
ISOLATO EPLS
euroeuro
50053,48 84,86
80061,50 96,87

Listino prezzi

Ponte di Fissaggioeuro
Ponte di Fissaggio per EDLSV EDLSVB12,23
Manicotto aggiuntivo per tubo Ø 75 mm interno in confezione da 5 pezzi24,99
Serranda di regolazione per attacchi Ø 63mm o 75mm interno in confezione da 5 pezzi14,98