EDU - EDU/M Diffusori a ugello orientabili a lunga gittata
Descrizione
Diffusori in alluminio a lunga gittata orientabili con angolatura max 30°.
Caratteristiche
Materiale: alluminio.
Finitura: alluminio satinato.
Installazione: con flangia a canale, con raccordo per tubo flessibile o con raccordo per canale rigido circolare.
Altezza di installazione compresa tra 3 m e 30 m in base al modello.
Impiego
Ambienti con soffitti molto alti o dove sia necessaria una distribuzione dell’aria a distanza e/o localizzata.
Modelli
- EDU Diffusori a ugello orientabili a lunga gittata.
- EDU/M Diffusori a ugello orientabili a lunga gittata con predisposizione per motore.
Accessori
- Servomotori per EDU/M: il servomotore viene fornito disassemblato dal diffusore a lunga gittata (installazione a carico del cliente);
- EDU-C - Coprighiera;
- EDU-SW - Swirl posteriore (riduttore di lancio);
- EDU-RF - Raccordo per tubo flessibile;
- EDU-RC - Raccordo per canale circolare.
A richiesta
- Verniciatura RAL a vostra scelta.
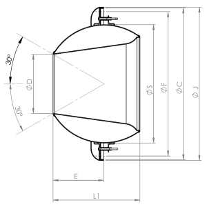
Dimensioni
Tutte le dimensioni sono espresse in mm.
Modello Sezione Efficace (m²) Ø D Ø S Ø C Ø F E L1 J Ø Foro 40 0,0013 40 80 135 119 41 61 139 115 50 0,0020 50 102 165 148 50 75 169 135 80 0,0050 80 160 245 226 52 118 249 205 110 0,0101 110 200 285 266 82 140 289 250 150 0,0177 150 300 385 366 128 220 389 352 200 0,0314 200 400 485 466 172 275 489 452 230 0,0415 230 400 485 466 160 265 489 452
Dati di Funzionamento
- Vk: velocità efficace (m/s).
- m³/h: portata.
- Pa: perdite di carico in Pascal.
- L(m): lancio in metri calcolato con installazione a filo soffitto e velocità terminale 0,25 m/s .
- dB(A): indice di rumorosità.
Dal modello 40 al 200 realizzato con cono centrale.
Modello 230 realizzato senza cono centrale.
| Modello | Vk (m/s) | 2 | 4 | 6 | 8 | 10 |
| 40 | m³/h | 9 | 18 | 28 | 37 | 46 |
| L(m) | 2,3 | 4,5 | 7,0 | 9,2 | 11,5 | |
| Pa | 2 | 11 | 27 | 48,0 | 75 | |
| dB(A) | <20 | <20 | <20 | <20 | 20 | |
| 50 | m³/h | 14 | 28 | 43 | 57 | 72 |
| L(m) | 3,0 | 6,0 | 9,0 | 11,0 | 14 | |
| Pa | 2 | 10 | 25 | 44 | 72 | |
| dB(A) | <20 | <20 | <20 | <20 | 21 | |
| 80 | m³/h | 36 | 72 | 108 | 135 | 168 |
| L(m) | 5,0 | 9,0 | 14,0 | 17,0 | 21,0 | |
| Pa | 2 | 9 | 21 | 34 | 54 | |
| dB(A) | <20 | <20 | 20 | 21 | 23 | |
| 110 | m³/h | 73 | 145 | 218 | 291 | 364 |
| L(m) | 5,3 | 10,4 | 15,6 | 20,8 | 25,9 | |
| Pa | 2 | 9 | 21 | 35 | 55 | |
| dB(A) | <20 | <20 | 20 | 23 | 27 | |
| 150 | m³/h | 127 | 254 | 382 | 509 | 637 |
| L(m) | 7,0 | 13,0 | 20,0 | 27,0 | 34,0 | |
| Pa | 2 | 8 | 19 | 34 | 55 | |
| dB(A) | <20 | <20 | 20 | 24 | 29 | |
| 200 | m³/h | 226 | 452 | 678 | 904 | 1130 |
| L(m) | 9,0 | 18 | 27 | 36,0 | 45 | |
| Pa | 2 | 8 | 18 | 32 | 51 | |
| dB(A) | <20 | <20 | <20 | 23 | 28 | |
| 230 | m³/h | 298 | 597 | 896 | 1195 | 1494 |
| L(m) | 10,0 | 21,0 | 31,0 | 40,0 | 46,0 | |
| Pa | 2 | 7 | 17 | 31 | 50 | |
| dB(A) | <20 | <20 | <20 | 22 | 27 |
EDU/M - Diffusori a ugello orientabili a lunga gittata con predisposizione per motore
D* Coprighiera.
Tutte le misure sono espresse in mm.
Dn A B C D* E F G min H min MOT. ON / OFF Motore Modulante 80 80 158 200 258 204 50 38 60 CM24-L / CM230-L CM24-SR-L 110 110 198 215 288 252 60 70 85 CM24-L / CM230-L CM24-SR-L 150 150 313 283 388 352 60 70 85 CM24-L / CM230-L CM24-SR-L 200 200 398 283 488 452 60 70 85 CM24-L / CM230-L CM24-SR-L 230 230 398 283 488 452 60 70 85 CM24-L / CM230-L CM24-SR-L
EDU-RF - Raccordo per Tubo Flessibile
Tutte le dimensioni sono espresse in mm.
Modello Ø A Ø B C D E Ø F int L EDU-RF 40 78 129 40 40 40 113 120 EDU-RF 50 98 158 60 40 60 138 160 EDU-RF 80 158 230 60 100 60 210 220 EDU-RF 110 198 280 60 100 60 250 220 EDU-RF 150 248 378 60 130 60 358 250 EDU-RF 200 398 480 60 170 60 460 290 EDU-RF 230 398 480 60 170 60 460 290
EDU-RC - Raccordo per canale circolare
Tutte le dimensioni sono espresse in mm.
Modello L2 Ø D1 Ø D2 Canale min max EDU-RC 40 150 113 129 160 450 EDU-RC 50 150 138 158 200 500 EDU-RC 80 200 210 230 315 630 EDU-RC 110 300 256 276 315 800 EDU-RC 150 300 358 378 500 800 EDU-RC 200 350 460 480 500 1000 EDU-RC 230 350 460 480 500 1000
Deflettore Swirl
Il deflettore swirl applicato nella parte posteriore del diffusore ad ugelli genera un moto di rotazione che aumenta l'induzione e riduce il lancio del diffusore del 40% ed è particolarmente indicato per l'immissione di portate aria elevate in ambienti di medie dimensioni prevenendo l'insorgere di correnti d'aria sensibili nella zona occupata.
Montaggio in Batteria
Modello L - Distanza Minima (mm) 40 170 50 210 80 300 110 350 150 430 200 550 230 550
Listino prezzi
Modello EDU EDU-M Servomotori per EDU/M EDU-C - Coprighiera EDU-SW - Deflettore Swirl EDU-RF - Raccordo per tubo flessibile EDU-RC - Raccordo per canale circolare ON / OFF Modulante 24V 230V 24V 230V Euro Euro Euro Euro Euro Euro Euro Euro Euro Euro 40 97,25 - - - - - 25,74 - 29,08 63,62 50 102,69 - - - - - 26,59 42,87 28,74 65,03 80 115,51 338,80 204,25 216,09 293,06 - 30,41 49,29 31,13 68,26 110 160,25 362,66 35,67 56,68 46,68 76,85 150 213,99 457,07 44,14 65,18 52,65 94,58 200 312,40 555,56 55,14 74,96 70,25 129,69 230 243,16 486,28 55,14 74,96 70,25 137,50